Einleitung

Use this guide to replace a broken or non-functioning LCD in your Welch Allyn 6000 series Connex vital signs monitor.

PLEASE NOTE: This repair guide was developed by the iFixit team based on Welch Allyn's own service manual. Neither iFixit nor this repair guide is endorsed by or affiliated with Welch Allyn.

  1. TjvKGcZHTTRpKIHd
    TjvKGcZHTTRpKIHd
    5SI4bnN1HQ1KYE4m
    • Unplug the AC power connection cable.

    You do not need to do all these steps.

    With dry hands and a firm grip, just press on the arrow with all fingers and slide battery door out.

    Anthony S -

  2. bbDJnVKmbVV4BViU
    bbDJnVKmbVV4BViU
    JhgMAUjTgSf4GfhO
    VBSAMaaGvx2EElGY
    • Place your thumb and forefinger on the blood pressure (NIBP) hose connector. Squeeze the side tabs until the connector releases.

    • Always grasp the hose by the connector. Do not pull on the hose itself.

    • Pull the connector away from the connector port.

  3. 2iCwfQGtNSG4wQRt
    2iCwfQGtNSG4wQRt
    L6vXC5yRSGG3GsCo
    OnRNoitXBdNus6tQ
    • Place your thumb and forefinger on the Pulse oximetry (SpO2 or combined SpO2/SpHb) cable connector. Squeeze the side tabs until the connector releases.

    • Always grasp the cable by the connector. Do not pull on the cable itself.

    • Pull the connector away from the connector port.

  4. TbkVHKJORxGtctDf
    TbkVHKJORxGtctDf
    QTnjfkoduNAhrmJv
    • Grasp the temperature probe and pull it up to remove it from the monitor.

  5. dTILOBYQAMgbZLNK
    dTILOBYQAMgbZLNK
    GuCT6pQIHQg6od64
    tJYRRMPKjAKI1UIQ
    • Remove the cover of the temperature module by pressing the tab and sliding the cover to the right.

  6. Ol2RVWWR4XTDRePW
    Ol2RVWWR4XTDRePW
    3ZZTXnoDZyJ24XUl
    ZrUNfbhExJLwgGST
    • Depress the spring tab on the temperature probe cable connector and withdraw it from the probe port.

  7. HcIeL1uMGhXPFZiZ
    • Remove the flathead screw on the USB networking door.

    • Loosen the captive Phillips #2 screw securing the monitor to the stand.

  8. h21Bv5plwdcBMZ3K
    • Holding the monitor securely, open the USB networking door.

    • You may have to lift the monitor slightly to allow the door to swing out from the stand mount.

  9. 6EKwOYvIhS5giFFl
    6EKwOYvIhS5giFFl
    LhmaXdSTomkCnMlm
    • Detach any accessory USB cables from USB ports on the monitor.

  10. 3qhU2WSXpITZOXDZ
    3qhU2WSXpITZOXDZ
    cehiN24Gs1eUGG53
    PPXiDx5LtTeP3BL2
    • Slide the monitor off of the stand tray.

  11. RCj21m2QFjFskJVZ
    RCj21m2QFjFskJVZ
    vdOtWPG1yfCOddOI
    bNtENQaH2EUJJ1RY
    • Place the monitor upside down on a clean surface.

    • Insert a coin into the slot and push to open.

    • Choose a coin that fits comfortably into the slot.

    • Remove the battery cover.

  12. 2pIwNsNENrbADWhl
    2pIwNsNENrbADWhl
    pQPGJj3lJiJZLwQY
    vfOFZ6MXuPpdP1uZ
    • Use the plastic label to remove the battery from its recess.

  13. jnXewmK6A5uBMByX
    jnXewmK6A5uBMByX
    muOtIRWRUrnCTjaQ
    • Open the communications door to access the lower left-hand rear housing screw.

    • Remove the four Phillips #2 screws (labeled 14 in the service manual) from the rear housing.

  14. FE1A2AhWvkCcO1rP
    FE1A2AhWvkCcO1rP
    GYetBLXgBcqJEpWG
    • With the handle/alert bar facing you, begin to lift the rear housing from the left side, holding the right side securely.

    • Do not attempt to separate the rear housing from the monitor, it is still attached with several cables.

  15. YGGFpijsqFCV1Qao
    • Support the rear housing while you disconnect the cables in the following steps.

  16. vnURghFHSf5ndxjy
    vnURghFHSf5ndxjy
    Y3xVtueRyRYTPSaM
    1rGG1sICu2XZrQWV
    • Disconnect the fan cable (labeled connector A in the service manual) from its socket in the power supply.

  17. SkAChMELZbefHhAj
    SkAChMELZbefHhAj
    EGKZmDlgOUU3yTFA
    nN1oECJMqWwnm2SM
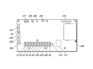
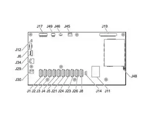
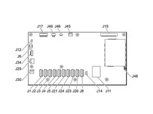
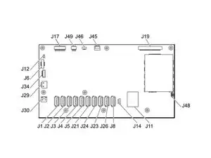
    • Unplug the small USB connector from its socket (labeled J4 in the service manual).

  18. BtT1So2nkAinhuwL
    BtT1So2nkAinhuwL
    VCttpBIcWoINmFgd
    nXqHeFXPbIHZKYfY
    • Disconnect the communications power cable from its socket (labeled J50 in the service manual).

    • Only pull on the connector itself and not the socket. This connection is very tight, work the connector slowly and gently.

  19. vQTry3KCoyTcE16L
    vQTry3KCoyTcE16L
    tucDLV6uiBO6sSUV
    QXFUGCeSSRmUtTiA
    • Unplug the large USB connector from its socket (labeled J8 in the service manual).

  20. Qfq2rPClfuGXx6Lt
    Qfq2rPClfuGXx6Lt
    TnOwVumxn1JWCRK1
    Hb3qyKuno2IY1e4f
    • Press the tab on the ethernet cable and unplug it from its socket (labeled J9 in the service manual).

  21. fWswX5IbWIAiyMyK
    • The following connector requires two hands to disconnect. Flip the rear case over, and lay it on its back to gain access to the power supply cable.

  22. xodWUYEi2gocY33H
    xodWUYEi2gocY33H
    4vAXJ3lQ5SJCPHtH
    QUmWkLYjTuVXaIX2
    • The power supply cable is secured by an interlocking connector that must be held open to unplug the connector.

    • Insert the flat end of a spudger down into the power supply cover between the socket clip and the power supply connector.

  23. FAOl61cCRwWW2ehB
    FAOl61cCRwWW2ehB
    p6jOWCQbTYbTUreg
    GJsVXDU6sqGSCRFA
    • Grasp the power supply cable firmly and lift both it and the spudger from the channel in the power supply housing to unplug the connector.

  24. Zd6VhyQUY5XBeDlr
    Zd6VhyQUY5XBeDlr
    CqeqGVLESWneSWgt
    hIBeHRbLIMMMFjhq
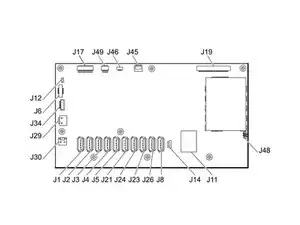
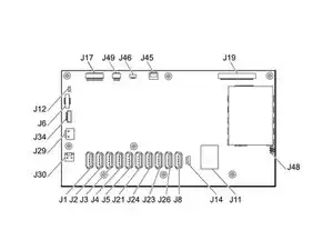
    • Remove all USB connectors from their ports on the motherboard.

    • Note the USB locations before removal for ease of reassembly. The locations of the USB as seen in the manual are shown in the third image. Your unit may differ depending on options.

  25. tKj2FL2hRPGHAtv5
    tKj2FL2hRPGHAtv5
    Xhp2tnMuGFHGDXOh
    • Fold the USB cable bundle out of the way.

    • When reassembling, position each cable to extend approximately 1.5 inches past the separator as shown.

  26. uNJHcHZddXHcTeIv
    uNJHcHZddXHcTeIv
    nilgmNcDeIGao3sj
    1BdFZNlXnUUnajFj
    • Use the flat end of a spudger to "walk" the LCD cable connector (labeled J19 in the service manual) out of its socket.

    • Press first on one side of the connector, then the other to push it free. Be sure to press the connector itself, not the socket on the motherboard.

    • Pull the cable straight out of its socket.

  27. 5pSidgja3KCo3GxA
    5pSidgja3KCo3GxA
    gO4M1EHUE4UKWZqj
    XCmxhNsLnUUdBu5D
    • Pinch the fan cable connector (labeled J45 in the service manual) and pull straight up to remove it from its socket.

    • Be sure to pull only on the connector itself, not the socket on the motherboard.

  28. vT2GEg4TyHHHfY2Y
    vT2GEg4TyHHHfY2Y
    dKbrKKQNoqxBnhZh
    XCmxhNsLnUUdBu5D
    • Pull the light bar cable connector (labeled J46 in the service manual) straight up out of its socket.

  29. VVThTKJFRNgDCJCM
    VVThTKJFRNgDCJCM
    J5uj2hHdOtQ46INE
    vxlMfi13M6QFfcUf
    • Remove the communications board cable connector from its socket (labeled J49 in the service manual).

    • If you have a printer unit in your model, remove the printer power cable at this time, it is labeled J17 in the service manual.

  30. hLQw1GBE4ZcIEwOT
    hLQw1GBE4ZcIEwOT
    HPspFOtWP1YoafjZ
    hVDcc52qHAQWKRFl
    • Carefully remove the speaker cable connector (labeled J12 in the service manual) from the motherboard.

  31. 1nKbE4daRnwqj1qR
    1nKbE4daRnwqj1qR
    5RM1O45t5hMBj4LB
    JEC3W6sHglIbmkaN
    • Lift the ZIF collar securing the power button cable (labeled J6 in the service manual) with the flat end of a spudger to loosen its grip.

    • Pull the power button cable straight up from its socket.

  32. ASaTHHIq2QOpEcwo
    ASaTHHIq2QOpEcwo
    TXprGduUYxTDhpTh
    2AJ5eKTPZlK1lUrm
    • Remove the smart-battery cable connector from its socket (labeled J34 in the service manual).

  33. V4afULxjOHWQceKi
    V4afULxjOHWQceKi
    1d4HMQjEPiXpcn2e
    2UqSG5ImeZZUnIrX
    • Pinch the battery power connector and lift straight up to unclip it from its socket on the motherboard (labeled J29 in the service manual).

  34. qf45pWAvn4TppjpL
    qf45pWAvn4TppjpL
    q4ilgVBq2CFw4vPO
    • Use the flat end of a spudger to separate the battery supply cable connector bracket from the socket (labeled J30 in the service manual).

    • Pull the battery supply cable connector straight up from the board.

  35. FBPNEKrFFFC3YPC6
    FBPNEKrFFFC3YPC6
    iWeC5AOwKZRklB1N
    • Carefully pull the LCD flex cable straight up from its socket in the motherboard (labeled J48 in the service manual).

  36. COmVHMYBBADnaggl
    COmVHMYBBADnaggl
    wgbCAVgALaLeFgyB
    • Remove the eight Phillips #1 screws from the motherboard.

    • The screw securing the ethernet cable bracket has a washer between it and the bracket. Take care not to lose it.

  37. JXejnVJEVLGSF3Ft
    JXejnVJEVLGSF3Ft
    qwnU1jHsdAXWqLNY
    mncasnR66Hf2BM2j
    • Lift the motherboard from the light-bar side and pull it toward the edge of the case to free the ethernet cable connector from under the case.

    • Lift the motherboard out of the case to gain access to the ethernet cable connector.

    • Do not attempt to remove the board entirely as it is still connected to the monitor.

  38. ORgoYCXHSrA5CAfh
    ORgoYCXHSrA5CAfh
    Nu2yEnTm2xYBARkv
    • Remove the ethernet cable connector (labeled J11 in the service manual) from the mother board.

  39. XAMAmOa6OEVPkxWh
    XAMAmOa6OEVPkxWh
    3qARcDEafViUne4S
    • Remove the two Phillips #2 side housing screws from the bottom housing.

    • There are holes above the screws into which you may insert a standard size screwdriver to unscrew them.

  40. iTPLSpG2ydpPLEw3
    • Remove the single Phillips #2 screw from the bottom housing near the speaker grille.

  41. PGEtAfwabMKKeUPm
    PGEtAfwabMKKeUPm
    UYNgEhhpTF3Tb2KH
    • Remove the bottom housing.

  42. Rc1V1GwlUmpjEVms
    Rc1V1GwlUmpjEVms
    pNvWGT2FwLSpQYFq
    • Remove the ethernet cable, or simply tuck it out of the way.

  43. Di4LHZsvVqMQvWeU
    Di4LHZsvVqMQvWeU
    W4rvb4t6L3m6ylWM
    K4U1YrmCLTA1iSN1
    • Remove the light-bar cable from the LCD bracket and move it out of the way.

    • During reassembly, refer to the third image for tape and cable replacement.

  44. QFY2MdMBp2AAmeXp
    QFY2MdMBp2AAmeXp
    pVKsdgVhoUBTF4BC
    GCwRKiVHMeWUSiVH
    • Remove any tape from the LCD cable connector.

    • For reassembly, refer to the third image for tape and cable replacement.

  45. XnKMOGeEjHAIRWpg
    XnKMOGeEjHAIRWpg
    UyZSvSLoQkNENrTp
    • Pull the LCD cable connector, firmly and evenly, straight out of its socket.

  46. uOHcLIFMMEUsxDoB
    • Remove the four Phillips #2 screws from the LCD bracket.

  47. 4MdYPKYyGp6ZWFsv
    4MdYPKYyGp6ZWFsv
    K5aCoHZwdYMHmmPP
    • Remove the LCD bracket.

  48. G1EMQbrjjmqJpvpe
    G1EMQbrjjmqJpvpe
    UgIPsUeXCLxWfJDm
    • Use the flat end of a spudger to lift the LCD out of the rubber gasket frame.

  49. sPCdhJKUAcTLNTyf
    sPCdhJKUAcTLNTyf
    ct1ybtb4EUSb5P4F
    • Remove the LCD from the front housing.

Abschluss

To reassemble your device, follow these instructions in reverse order.

Sam Goldheart

Mitglied seit: 19/10/12

472834 Reputation

0 Kommentare